军事:详解中国特色坦克稳像火控瞄准镜 让坦克瞄得更准(3)
观察者网 2018-07-24 14:11:32

左:TPD-2-49/TPDK1的高低稳像原理;右:1G42/1G46的双向稳像原理

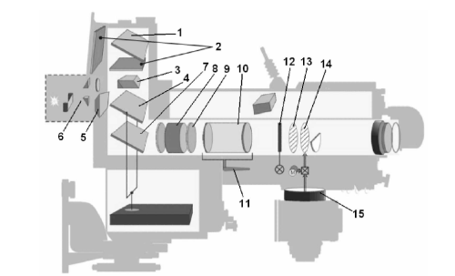
1G46瞄准镜:
1 –稳定上反射镜; 2 – 防护玻璃; 3 –分光棱镜; 4 –分光平面镜; 5 –转像棱镜; 6 – 激光测距仪准直仪; 7 –稳定下反射镜; 8 – 物镜; 9 – 滤光片; 10 –变焦系统; 11 – 倍率放大驱动; 12 –照明分光镜; 13 – 固定栅极板; 14 – 活动栅极板; 15 –手动输入距离机构(手动装表)
也就是说苏俄主战坦克反射镜的视场稳定其实是通过上反射镜和下反射镜分别在高低方向和水平方向同时稳定实现的。这一设计有效减小了暴露在装甲外部的镜头组件的面积,起到了减小装甲弱区的效果,和我国的“下反”有相同的考虑,但是实现的方式却和“下反”有着本质上的差异。
国内“下反火控”瞄准镜和苏式坦克瞄准镜都有一套连杆滑块机构,用来实现镜炮同步,但是国内的连杆滑块机构和毛子连杆滑块机构的应用方法完全不同。以国产85系列坦克的“下反稳像火控”瞄准镜为例,瞄准镜体通过连杆滑块机构与火炮同步俯仰,镜体内的120°等腰棱镜则与一个挠性陀螺仪固定在一起,独立地实现瞄准线和视场的双向稳定。火炮轴线与瞄准线之间的失调角信号由挠性陀螺仪直接提供。按照某论文的说法是陀螺仪直接稳定可以获得更高的稳定精度。

85-IIAP所用瞄准镜的白光通道稳定原理图

国产“下反”火控的镜炮同步原理简图

狂踩
(5)
71.4%
点赞
(2)
28.6%
