军事:详解中国特色坦克稳像火控瞄准镜 让坦克瞄得更准(5)

T-72坦克的TPDK1激光测距瞄准镜

仅高低稳像的坦克瞄准镜结构简图
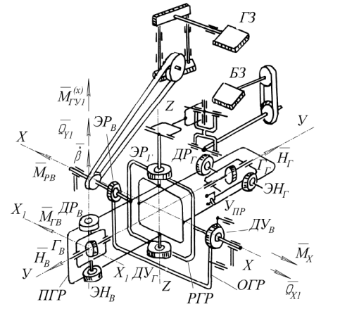
БЗ – 基本反射镜(下反射镜); ГЗ – 上反射镜; ЛРП – 皮带齿条传动; Ст – 止动销; ЭК – 校准电磁铁; Ш – 皮带轮; ВР – 陀螺仪内框(红色); НР – 陀螺仪外框(绿色); ЭН – 高低引导电磁铁; КУ –接触单元; Г –陀螺仪转子(红色); ОГ – 陀螺仪稳定器基座(紫色,包括平行四杆机构); ВТ – 旋转变压器(紫色-绿色); КДК –校准系统接触传感器
对于1G42/1G46这些视场双向稳定的瞄准线,简单来说就是把三自由度单转子陀螺仪替换成了一个双转子二自由度陀螺仪组(苏联称呼,西方定义为单自由度)。镜炮同步仍然采用的是旋转变压器检测失调角产生控制信号。

1G46激光测距-制导-瞄准三合一炮长瞄准镜

视场双向稳定的坦克瞄准镜结构简图

T-80UD内1G46瞄准镜安装示意图
综上所述,苏俄主战坦克的双稳炮长瞄准镜既非“上反”亦非“下反”,在镜炮同步原理上也和国内产品有着本质区别。苏俄双向稳像瞄准镜的设计存在着和国内“下反”一样的先天缺陷,就是难以在稳像通道内整合其他光学通道如微光夜视仪和热成像。因此在夜视设备中要么加装一套独立的上反射镜稳定装置(如1K13、ESSA等),要么采用“稳线”(如TPN-4、“暴风雪-PA”等),以实现夜视设备的瞄准线与白光瞄准镜的瞄准线同步。这样一来整套炮长观瞄设备就显得不太紧凑,可以说这是苏联时期一直秉承传统坦克设计意识形态所导致的模式僵化。苏联解体后,俄罗斯、乌克兰和其他一些仍在使用苏制坦克的国家都纷纷摒弃了苏联模式,陆续更换或加装了独立稳定上反射镜、多通道集成的观瞄设备(如DNCS-2、Sosna-U、 PNK-6等)。但是由于坦克基础设计的影响,例如T-90MS,T-72B3这些坦克加装的综合瞄准镜都不具备降级火控功能,因此要么保留了原来的白光瞄准镜如T-72B3的1A40-4火控系统,要么加装辅助瞄准镜,如T-90MS的PDT。
